Page 1 of 3 123 LastLast
Results 1 to 10 of 23

Thread: Old 90/110 Air Con Evap MUC1663

  1. #1
    Join Date
    Jan 2010
    Location
    Melbourne
    Posts
    1,801
    Total Downloaded
    0

    Old 90/110 Air Con Evap MUC1663

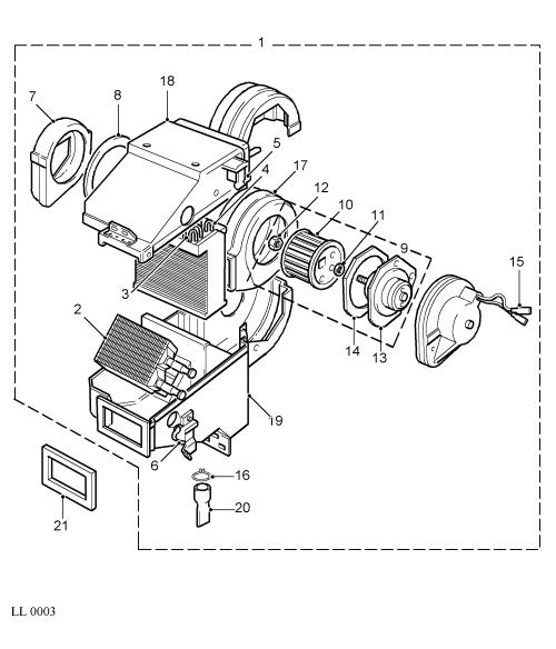
    Just stumbled across part number MUC1663
    described as a heater evaporator assembly.


    It appears to mount on the bulkhead perhaps in the usual heater box position (pre puma defenders).

    Is anyone familiar with one of these, know what year 90/110's it was found in and how it was set up - did it interface with another unit under dash or just blow into cab same way as heater box (BTR4318) ?

  2. #2
    Join Date
    Jan 1970
    Location
    NSW far north coast
    Posts
    17,285
    Total Downloaded
    0
    AFAIK that was never fitted to an Oz spec 90/110/130, it was the standard factory fitted a/c evap assembly.
    We enjoyed an Aussie designed/fitted a/c system.

    Yes, it sits where the normal heater box sits.

  3. #3
    Join Date
    Sep 2008
    Location
    Geelong, VIC
    Posts
    4,442
    Total Downloaded
    0
    That looks a lot like the original County aircon unit. A monstrous unit that's "big enough to have its own postcode", and that most people have removed.

    Steve

  4. #4
    Join Date
    Jan 2010
    Location
    Melbourne
    Posts
    1,801
    Total Downloaded
    0
    Quote Originally Posted by steveG View Post
    That looks a lot like the original County aircon unit. A monstrous unit that's "big enough to have its own postcode", and that most people have removed.

    Steve
    I'd love to see what it looks like installed!

    I'm looking to fit an external evaporator to the bulkhead to blow through the port the current heater box uses. So it looks promising to me. I wouldn't mind a monster under the bonnet so long as its not in the cab... but why was it such a bother that people removed it? And what would they have replaced it with?

  5. #5
    Join Date
    Nov 2008
    Location
    Bruthen, Eastern Vic.
    Posts
    842
    Total Downloaded
    0
    Thats the pre 1988 County heater/aircon unit. UK spec. Was plagued with poor assembly and air leaks, but can be made to work ok with a bit of careful assembly. (pig of a job though)

    Terry

  6. #6
    Join Date
    Jan 2010
    Location
    Melbourne
    Posts
    1,801
    Total Downloaded
    0
    Quote Originally Posted by rover-56 View Post
    Thats the pre 1988 County heater/aircon unit. UK spec. Was plagued with poor assembly and air leaks, but can be made to work ok with a bit of careful assembly. (pig of a job though)

    Terry
    Do you know how the hot/cold mix worked? On the microcat there are parts that suggest some sort of vacuum control. The defender heater box uses a cable operated flap to divert the outside air around the heater matrix for cold. Does this box divert air through the evap around the heater core or was coolant from the engine shut off to the heater core when on cold?

  7. #7
    Join Date
    Jul 2011
    Location
    Yarrawonga, Vic
    Posts
    6,580
    Total Downloaded
    0
    would this be one ?


    pic found in this thread
    http://www.aulro.com/afvb/projects-t...onversion.html

    I dont like how the vent flaps are sealed with black plastic covers, At least Pumas still look like they have vents even if they dont open





    .

  8. #8
    Join Date
    Nov 2008
    Location
    Bruthen, Eastern Vic.
    Posts
    842
    Total Downloaded
    0
    Thats it Don.

    The hot/cold mix worked by a cable attached to a lever part way down the side of the box. When the lever was at the cold end of its travel it operated a plastic vacuum valve which was supposed to close a vacuum operated water valve. The vacuum also operated demist/face level/foot level flaps controlled by vacuum push buttons in the dash panel.

    I doubt anyone could design a more frustrating and difficult to fix system.

    The aircon could be made to work, but air flow was badly restricted by the poorly set up ducting, and the loss of vacuum when the engine stopped would open the water valve and fill the heater matrix with hot water.

    The whole thing would get me screaming and throwing things around the workshop.

    The Aus Defender setup believe it or not is better. (not by much I am told)

    Cheers, Terry

  9. #9
    Join Date
    Oct 2011
    Location
    Cooktown Qld
    Posts
    89
    Total Downloaded
    0
    dead right, Steve. My 1985 County 110 'had' one in, virtually useless and MOST difficult to work on. I have removed all the cooling bits, just use the heater matrix for demisting, but the blower fan would'nt ruffle your hair anyway. I'm trying to devise an "evaporative cooling" system for out in the 'dry' bush.

  10. #10
    Join Date
    Jan 1970
    Location
    NSW far north coast
    Posts
    17,285
    Total Downloaded
    0
    Looking in my manual it looks like the Poms used a remarkably similar/same system through '98 too, including the vacuum operated water valve.

Page 1 of 3 123 LastLast

Bookmarks

Bookmarks

Posting Permissions

  • You may not post new threads
  • You may not post replies
  • You may not post attachments
  • You may not edit your posts
  •  
Search AULRO.com ONLY!
Search All the Web!